Sunday, December 3, 2023

आशियाचा स्थापत्य वारसा – अंगकोरवॅटमधील कथनशिल्पे

 

सामना ऑनलाईन

डॉ.मंजिरी भालेराव << manjirib24@gmail.com  >>

अंगकोरवॅट या कंबोडियातील सर्वात मोठय़ा मंदिराचे आणखी एक आकर्षण म्हणजे इथे कोरलेले कमी उठावाचे असंख्य शिल्पपट. शेकडो मानवाकृती यामध्ये पाहायला मिळतात. पुराणातील आणि ऐतिहासिक प्रसंगावर आधारित वेगवेगळ्या गोष्टींची कथनशिल्पे इथे कोरली आहेत.

अंगकोरवॅट या कंबोडियातील सर्वात मोठे तसेच जगातील सर्वात मोठे धार्मिक स्थळ असलेल्या मंदिराची माहिती पाहण्यास आपण मागच्या भागात सुरुवात केली. मंदिराचा शोध कसा लागला आणि त्याचबरोबर कंबोडियामधली अनेक वारसा स्थळे कशी उजेडात आली हेही आपण पहिले. पण मुळात हे मंदिर एकात एका अशा तीन तटबंदींच्या आत बांधले आहे. पश्चिम दिशेला प्रवेशद्वार असलेल्या मंदिराच्या भोवती मोठय़ा प्रदक्षिणा पथाची योजना केली आहे. हा पथ यामध्ये एका बाजूला छत तोलून धरणाऱ्या खांबांची ओळ आहे तर दुसऱ्या बाजूला जी भिंत आहे त्यावर अगदी कमी उठावाचे शिल्पपट कोरले आहेत. हे शिल्पपट म्हणजे या मंदिराचे सर्वात मोठे आकर्षण आहे. शेकडो मानवाकृती यामध्ये पाहायला मिळतात. पुराणातील आणि ऐतिहासिक प्रसंगावर आधारित वेगवेगळ्या गोष्टींची कथनशिल्पे इथे कोरली आहेत. शेकडो वर्षे देश-विदेशातील प्रवासी, भक्त या मंदिरात येऊन त्यांनी या शिल्पांवर आपले हात घासल्यामुळे ते खूप गुळगुळीत झाले आहेत आणि काहींना झिलई (पॉलिश) केली आहे असा आभास होतो.

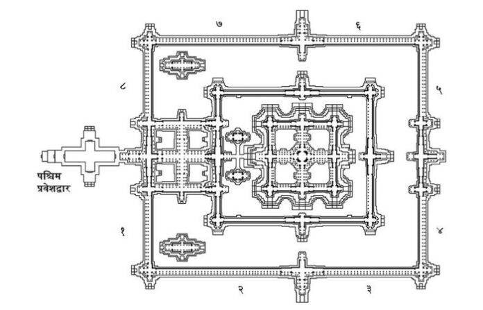
पश्चिम दिशेच्या दरवाज्यातून आत शिरल्यावर साधारणपणे उजवीकडे म्हणजे दक्षिणेकडून ही प्रदक्षिणा घालतात किंवा या शिल्पांचा आस्वाद घेतात. वरील रेखाचित्रात कोणते शिल्पपट कुठे आहेत यांचा थोडक्यात आराखडा दिला आहे. हे शिल्पपट पुढील विषयांवर आधारित आणि पुढील क्रमाने कोरलेले पाहायला मिळतात. 1)महाभारतात वर्णलेले कुरुक्षेत्रातील युद्ध, 2) राजा सूर्यवर्मन (दुसरा) याची मिरवणूक, 3) स्वर्ग आणि नरकातील चित्रण, 4) समुद्रमंथन, 5) कृष्णाचा असुरांवर विजय, 6) कृष्णाचा बाणासुरावर विजय, 7) देव आणि असुर यांच्यामधील युद्ध आणि 8) रामायणातील राम आणि रावण यांचे घनघोर युद्ध, असा हा क्रम आहे.

1) यामध्ये सर्वात आधी कुरुक्षेत्रात झालेले महायुद्ध शिल्पांकित केलेलं आहे. महाभारतावर आधारित हे शिल्प 48 मीटर लांब भिंतीवर कोरले आहे. त्याची रचना अशा प्रकारे केली आहे की, डावीकडून किंवा उजवीकडून, कुठूनही पहिले तरी महत्त्वाचे प्रसंग मधोमध येतात. या शिल्पपटात अर्जुनाच्या रथाचे सारथ्य करणारा कृष्ण, शरपंजरी भीष्म या महत्त्वाच्या प्रसंगांबरोबरच युद्धात शेकडो सैनिक लढताना दाखवले आहेत. एकमेकांच्या अंगावर पडलेले, त्यांना पायदळी तुडवून पुढे जाणारे असे हे सैनिक, अशी अनेक गुंतागुंतीची शिल्पे इथे कोरलेली आहेत. तसेच फरश्यांचे अनेक शिल्पांकित तुकडे एकासमोर एक बसवून हा आणि बाकीच्या सर्व ओवऱ्या किंवा व्हरांडय़ामधल्या  शिल्पपटांची निर्मिती झालेली आहे. एकमेकांशेजारी ते इतके बेमालूमपणे बसवले आहेत की त्यांच्यामध्ये जोड आहे हे लक्षातसुद्धा येत नाही. हे ख्मेर शिल्पकारांचे काwशल्य सर्व मंदिरांमध्ये पाहायला मिळते. इथे तर त्यांनी आपल्या या काwशल्याचा परमोच्च बिंदू गाठला आहे. अनेको मीटर लांब अशा भिंतींवर ही शिल्पे कोरलेली आहेत.

2)  त्यानंतर आहे ते म्हणजे दक्षिणेकडच्या भिंतीवरील पहिल्या भागात कोरलेले राजा सूर्यवर्मन (दुसरा) याच्या मिरवणुकीचे शिल्प. या मंदिराचा निर्माता आणि भगवान विष्णू याचा परमभक्त असलेला राजा सूर्यवर्मन (दुसरा) याचे सामर्थ्य दाखवणारी ही भव्य मिरवणूक 90 मीटर लांब भिंतीवर कोरलेली आहे. अशा प्रकारचे शिल्पातून दर्शन देणारा हा कंबोडियातील पहिलाच राजा होता. या मिरवणुकीत राजाचे विविध अधिकारी, सैन्याच्या तुकडय़ा, हत्ती, धर्मगुरू, घोडेस्वार, राजाची छत्र-चामरे, ध्वज इ. सविस्तर दाखवले आहे. राजा स्वतः हाता-पायात, गळ्यात दागिने, डोक्यावर मुकुट, हातात बहुतेक मेलेला साप अशा थाटात एका आसनावर बसला आहे. या आसनाचे पाय अनेक फणे असलेल्या नागासारखे आहेत. काही पालख्या राण्या आणि राजकुमारी यांनाही घेऊन येत आहेत असे दखवले आहे. अतिशय सविस्तरपाने कोरलेल्या या शिल्पामधून राजा सूर्यवर्मन (दुसरा) याचे एक गंभीर, शांत व्यक्तिमत्त्व प्रतीत होताना दिसते. आजच्या कंबोडियातील अनेक कलाकुसरीच्या वस्तू विकणारे लोक निरनिराळ्या माध्यमात तयार केलेल्या या राजाच्या अंगकोरवॅट येथील या शिल्पाच्या अनेक प्रतिकृती विकताना दिसतात. काळ्या तसेच गडद लाल रंगाच्या पार्श्वभूमीवर सोनेरी रंगाने दाखवलेल्या राजा आणि त्याच्या छत्र, चामर, ध्वज दर्शवणाऱ्या या शोभिवंत वस्तू अतिशय देखण्या आणि आकर्षक दिसतात. शिल्पांमधून दिसणारे वैभव जिवंत करण्याचा हा एक प्रयत्न आहे हे लक्षात येते.

3) यानंतर या ओवरीच्या पुढच्या भागात स्वर्ग आणि नरक यामधले चित्रण केलेले दिसते. 63 मीटर लांब असलेल्या या भिंतीवर 37 स्वर्ग आणि 32 नरकांमधील जीवनाचे चित्रण पाहयला मिळते. मृत व्यक्तींना त्यांच्या आयुष्यात केलेल्या कर्मानुसार स्वर्ग किंवा नरक यामध्ये जागा मिळते. तिथे चांगली कर्मे करणाऱ्या लोकांना स्वर्गातील सुखाचे जीवन आणि वाईट कर्मे करणाऱ्या लोकांना नरकातील दुःखप्रद जीवन कसे जगायला मिळते हे अतिशय प्रभावी पद्धतीने दाखवले आहे. मधोमध रेडय़ावर बसलेल्या मृत्यूच्या देवाचे म्हणजे यमराजाचे अनेक हात असलेले आणि त्यात विविध आयुधे धरलेले शिल्प पाहायला मिळते. यामध्ये नरकातील जीवन अक्षरशः अंगावर काटा आणणारे, विविध प्रकारचे छळ दाखवणारे आहे. हे सगळे पाहिल्यावर प्रजेला चांगले वागणे कसे महत्त्वाचे आहे हे समजेल या अपेक्षेने यांची योजना इथे केली असावी. भारतीय परंपरेत चक्रवर्ती राजाचे हे कर्तव्य सांगितले आहे की, त्याने त्याच्या प्रजेचे फक्त इहलोकात, भौतिक जीवनात भले करावे असे नाही तर मृत्यूनंतर परलोकातही त्यांचे भले व्हावे याची काळजी घ्यावी. चक्रवर्ती सम्राट अशोकही त्याच्या लेखांमधून हेच सांगताना दिसतो. या सगळ्या वैचारिक पार्श्वभूमीवर जेव्हा या शिल्पांकडे आपण पाहतो तेव्हा त्यांचे वेगळे संदर्भही लक्षात येतात. राजा सूर्यवर्मन (दुसरा) याने किती विचार करून या मंदिराची आणि त्यामधल्या शिल्पपटांची योजना केली होती, हे पाहून आपण अचंबित होतो.

असे अजून पाच शिल्पपट या मंदिरात आहेत. त्यामध्येही अनेक उल्लेखनीय गोष्टी कोरल्या आहेत. जागेअभावी त्यांच्याबद्दल पुढच्या आणि शेवटच्या भागात माहिती घेऊया.

(लेखिका टिळक महाराष्ट्र विद्यापीठ, पुणे येथे असोसिएट प्रोफेसर ऑफ इन्डोलॉजी आहेत.)

आशियाचा स्थापत्य वारसा – कंबोडियातील स्थापत्यवैभवाचा मुकुटमणी

सामना ऑनलाईन

>>डॉ. मंजिरी भालेराव

ज्या प्रमाणात आणि ज्या आकाराची स्थापत्य निर्मिती हिंदुस्थानात झाली, त्याच्यापेक्षा कित्येक पट जास्त आकाराची आणि संख्येनेही बरीच मंदिरे जगातील इतर देशांत, विशेषतः कंबोडियामध्ये आढळून येतात. अंगकोर वॅट हेच मंदिर आठवते. हे मंदिर म्हणजे कंबोडियातील स्थापत्याच्या वैभवातील सर्वोत्कृष्ट आविष्कार आहे.

कंबोडिया म्हटले की, जगातील सर्वात मोठे धार्मिक स्थळ म्हणून नावलौकिक असलेले अंगकोर वॅट हेच मंदिर आठवते. हे मंदिर म्हणजे कंबोडियातील स्थापत्याच्या वैभवातील सर्वोत्कृष्ट आविष्कार आहे. जगातील सर्वात मोठे धार्मिक स्थापत्य अशी ओळख असणारे मुळात विष्णू या देवतेचे मंदिर म्हणून बांधले गेले. हिंदुस्थानात जसजशी मंदिर स्थापत्याची संकल्पना विकसित झाली तसतशी ती हिंदुस्थानातून बाहेर गेलेल्या लोकांबरोबर इतर देशांतही पोचली. मंदिर स्थापत्य संकल्पनेतले विकासाचे विविध टप्पे तिथेही पाहायला मिळतात. ज्या प्रमाणात आणि ज्या आकाराची स्थापत्य निर्मिती हिंदुस्थानात झाली, त्याच्यापेक्षा कित्येक पट जास्त आकाराची आणि संख्येनेही बरीच मंदिरे जगातील इतर देशांत, विशेषतः कंबोडियामध्ये आढळून येतात.

  यामध्ये अंगकोर वॅट नावाचे मंदिर जगप्रसिद्ध आहे. 1992 मध्ये या स्थळाला जागतिक वारसा असा दर्जा मिळाला. सिएम रिपपासून 5.5 कि.मी. अंतरावर एका मोठय़ा भरपूर पाणी असलेल्या खंदकाच्या मधोमध या मंदिराची उभारणी केली होती. क्षीरसागराच्या मधोमध असणाऱया मेरू पर्वताची संकल्पना इथे प्रत्यक्षात उतरविण्याचा प्रयत्न केलेला दिसतो. हिंदुस्थानी धार्मिक विश्वासानुसार या विश्वाच्या मधोमध हा मेरू पर्वत आणि त्याच्या बाजूने त्याची शिखरे आहेत. त्याच्या सभोवताली महासागर आहे. या पर्वतावर देवांचा निवास असतो. त्यामुळे ती दैवी सृष्टी उभी करण्याचा प्रयत्न हा अनेक मंदिरांमध्ये केलेला पाहायला मिळतो. हिंदुस्थानात खजुराहो येथे आणि इतर अनेक ठिकाणी हे दिसून येते. 

अतिशय भव्य असलेल्या या मंदिराचे बांधकाम 12 व्या शतकात राजा सूर्यवर्मन 2रा याच्या काळात झाले होते. ‘अंगकोर वॅट’ या नावाचा अर्थ ‘नगर मंदिर’ किंवा काहींच्या मते ‘मंदिरांचे नगर’. ‘अंगकोर’ या शब्दात मूळ संस्कृत शब्द ‘नगर’ (नोकोर – अंगकोर) असा  आहे. हे त्या नगरातले प्रातिनिधिक मंदिर असावे, अशा अर्थाने हे नाव पुढे आले असावे असेही काही अभ्यासक मानतात. त्याच्या घराण्यातल्या यशोवर्मन या राजाने उभारलेल्या यशोधरपूर या नगरात हे मंदिर बांधले आहे. हे मुळात विष्णूचे मंदिर म्हणून बांधले गेले. या काळापर्यंतचे कंबोडियातील राजे हे शिवाचे भक्त होते, पण हा राजा म्हणजे सूर्यवर्मन 2रा मात्र विष्णूचा निस्सीम भक्त होता. त्याच्या वडिलांचे नाव क्षितिंद्रादित्य आणि आईचे नाव नरेंद्रलक्ष्मी  असे होते.  

दिवाकर पंडित नावाच्या एका विद्वान ब्राह्मणाने त्याचा राज्याभिषेक इ.स. 1113 मध्ये केला. सूर्यवर्मन 2रा याची माहिती सांगणारे काही शिलालेख उपलब्ध आहेत. यामधून त्याचे चोल घराण्यातील राजा कुलोत्तुंग चोल याच्याशी असणारे संबंध स्पष्ट होतात. या राजाने त्याच्या कारकीर्दीत  त्याच्या सीमेवरील शत्रूंच्या विरुद्ध बऱयाच मोहिमा आखल्या आणि त्यात तो विजयी झाला. यामध्ये चंपामधील (म्हणजे आजचे व्हिएतनाम) चाम लोकांचाही समावेश होतो. एका युद्धात त्याने चंपाच्या राजाला हरवून तिथे त्याच्या बायकोचा धाकटा भाऊ हरिदेव याला राजा म्हणून बसवले. त्याने आपल्या मुत्सद्दी वागणुकीने चीनच्या सम्राटाशी मैत्रीपूर्ण संबंध प्रस्थापित केले.  

सूर्यवर्मन 2 रा याच्या कारकीर्दीत ख्मेर साम्राज्य अगदी भरभराटीला आले होते. राज्यात समृद्धी नांदत होती. त्याने त्याचा धार्मिक गुरू दिवाकर पंडित याच्या मार्गदर्शनाखाली अनेक यज्ञयागही केले होते, पण त्याच्या काळातील सर्वात उल्लेखनीय घटना म्हणजे अंगकोर वॅट या मंदिराची निर्मिती. या मंदिराच्या निर्मितीमध्ये, रचनेवर आणि स्थापत्यावर चोलांच्या संपर्काने त्यांचाही काही प्रभाव पडला असावा असे काही अभ्यासक मानतात. एकंदरीत कंबोडियामधील सर्वच मंदिरांमध्ये सर्वात भव्य असलेल्या या मंदिराच्या निर्मितीची सुरुवात सूर्यवर्मन 2 रा या राजाने जरी केली तरी ते त्याच्या मृत्यूनंतर पूर्ण झाले. हे मंदिर बांधायला जवळ जवळ 37 वर्षे लागली.  

अंगकोर वॅट हे मंदिर म्हणजे स्थापत्यशास्त्राचा एक चमत्कारच मनाला जातो. हे भव्य स्थापत्य आणि या देशातील इतर अनेक मंदिरे आधुनिक जगापासून खूप दूर आणि  जंगलात लपलेली होती. 1860 मध्ये हेन्री मोहूत या फ्रेंच निसर्ग अभ्यासक आणि संशोधकाने हे मंदिरच नव्हे, तर कंबोडियातील स्थापत्य वैभव जगासमोर आणले. त्यानंतर त्याचा शास्त्र्ााrय अभ्यास सुरू झाला, पण हे मंदिर कधीच स्थानिक लोकांच्या विस्मृतीत गेले नव्हते. जरी हे विष्णू मंदिर म्हणून बांधले गेले तरी काळाच्या ओघात त्याचे रूपांतर बौद्ध मंदिरात झाले. इ.स. 1431 मध्ये ख्मेर साम्राज्याचा अंत झाल्यावर बौद्ध भिक्षू या मंदिर परिसरात राहत असत आणि मंदिराची काळजी घेत असत. किंबहुना त्यांच्यामुळेच हे मंदिर व्यवस्थित राहिले आणि त्याची अवस्था इतर मंदिरांसारखी झाली नाही. 17व्या शतकातसुद्धा या परिसरात काही दाने दिली जात होती हे तिथे सापडलेल्या 14 शिलालेखांवरून लक्षात येते. अनेक जपानी बौद्ध भिक्षूही इथे तीर्थक्षेत्र समजून येत असत. त्यांची श्रद्धा होती की, गौतम बुद्धाच्या आयुष्यातील जेतवन हे जे पवित्र वन होते ते हेच आहे. वस्तुतः अनाथपिंडिकाचे जेतवन तर हिंदुस्थानात आहे, पण त्यांची तशी श्रद्धा होती. त्यामुळे अनेक जपानी भिक्षू तिथे येत असत. नंतर फ्रेंच सरकारने या स्मारकांची काळजी घ्यायला सुरुवात केली. अनेक अभ्यासकांनी स्थापत्य, शिल्प, शिलालेख यांचा अभ्यास करायला सुरुवात केली. 

अंगकोर वॅट या मंदिराची रचना अतिशय वैशिष्टय़पूर्ण आहे. वर उल्लेखल्याप्रमाणे देवतांचा निवास असलेल्या मेरू पर्वताची ही संकल्पना आहे. 1650 मी. लांब आणि 1470 मी. रुंद या आकाराच्या अतिभव्य आयताकृती परिसरात हे मंदिर आणि त्याच्या आजूबाजूच्या काही इमारती बांधल्या आहेत. साधारणपणे 240 हेक्टरच्या परिसरात हे बांधकाम आहे. मंदिराची तटबंदी ही जांभ्या दगडाने बांधली आहे, तर मुख्य मंदिर हे वालुकाश्माने बांधले आहे. मंदिराच्या चारही बाजूला भरपूर पाण्याने भरलेला खंदक आहे. तो पाच कि. मी. लांब, 200 मी. रुंद आणि 4 मी. खोल आहे. हा खंदक ओलांडून जाण्यासाठी पूर्व आणि पश्चिम दिशांना पूल बांधले आहेत. मुख्य मंदिराचा गाभारा पश्चिम दिशेला उघडतो. साधारणपणे इतर सर्व मंदिरांचे गाभारे पूर्व दिशेला उघडतात, पण इथे असे का? या कोडय़ाचे नेमके उत्तर समजले नाही. या एकमेवाद्वितीय मंदिराची माहिती एका लेखात घेणे अशक्य असल्याने उरलेली माहिती आणि वैशिष्टय़े आपण पुढच्या भागात समजावून घेऊ. 

(लेखिका टिळक महाराष्ट्र विद्यापीठपुणे येथे असोसिएट प्रोफेसर ऑफ इन्डोलॉजी आहेत)

manjirib24@gmail.com








No comments:

Post a Comment

Note: Only a member of this blog may post a comment.

उस्वाया

  रॉय १ - https://www.maayboli.com/node/85329 रॉय २ - सेरो तोरे - https://www.maayboli.com/node/86177 रॉय ३ - ग्लेशियरचं गाव - https://www.m...